近日,廣東(dong) 唯仁醫療科技有限公司(簡稱“唯仁醫療”)宣布其自主研發的Velite係列眼科光學生物測量儀(yi) (Velite C680)、生物測量儀(yi) +OCT二合一設備(Velite C880),正式獲得廣東(dong) 省藥品監督管理局頒發的二類醫療器械注冊(ce) 證(注冊(ce) 證編號:粵械注準20242161449)。至此,唯仁醫療已取得第5張二類醫療器械注冊(ce) 證。
2024年11月,唯仁醫療自主研發的Velite係列眼科光相幹斷層掃描儀(yi) (OCT)正式獲得歐盟CE認證。這一認證標誌著唯仁醫療的OCT/OCTA技術達到了歐盟的安全與(yu) 質量標準,為(wei) 公司進一步拓展歐洲等海外市場奠定了堅實的基礎。

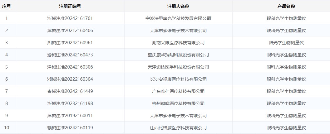
▲圖源藥監局官網
唯仁醫療自主研發的Velite係列眼科光相幹斷層掃描儀(yi) ,目前涵蓋了頻域OCT/OCTA、掃頻OCT以及生物測量儀(yi) 等多種獨立或組合設備,可靈活適配終端不同使用場景。
同時,唯仁醫療還大力發展眼科AI技術,降低設備使用難度,提高自動化圖像識別能力與(yu) 診斷水平,加速智能OCT的普及應用。除了智能OCT以外,唯仁醫療還開發了眼科影像雲(yun) 平台,幫助醫生在院內(nei) 輕鬆完成多學科會(hui) 診,助力區域內(nei) 醫聯體(ti) 建立遠程診療平台。
目前,唯仁醫療已在印度、哈薩克斯坦、俄羅斯、巴西、希臘、越南等多個(ge) 國家,以及我國香港、台灣等地區擁有了經驗豐(feng) 富的戰略合作夥(huo) 伴。
#Velite C680可視化生物測量儀(yi)
Velite C680可視化生物測量儀(yi) 不僅(jin) 一次可獲得16項測試數據,還可實現可視化固視引導,在傳(chuan) 統光學生物測量數據基礎上提供高清前後節斷層影像,精準查看角膜、視網膜、脈絡膜的結構影像。

可視化生物測量:可視化的眼部結構圖像可提高測量精度與(yu) 重複性,克服傳(chuan) 統光學生物測量儀(yi) 無法評估測量過程中眼的微小振動及固視情況。

圖像可視範圍廣:支持最大9mm範圍內(nei) 的橫截麵查看,助力眼健康篩查。
具備脈絡膜測量:能夠精確測量脈絡膜厚度,同時監測脈絡膜厚度與(yu) 眼軸變化,為(wei) 近視防控提供雙重數據支持,確保更全麵準確地評估近視狀況,更有效地進行近視防控幹預,也為(wei) 製定個(ge) 性化近視防控方案提供了有力的依據。

捕獲速度快:眼軸數據采集頻率高達75Hz,即捕獲眼軸長度隻需13ms,大幅減少了眼動帶來的測量誤差,提高了測量的準確性和可靠性。

AI診斷:可觀察眼部組織9mm橫向掃描範圍內(nei) 的細微結構,集成AI輔助診斷,優(you) 良的OCT級眼部圖像可協助分析如視網膜層內(nei) 的細微結構、黃斑區疾病情況等眼底組織微小結構異常。

數據管理:提供豐(feng) 富全麵的近視防控數據隨訪管理,追蹤並分析近視防控相關(guan) 的重要參數變化趨勢,從(cong) 而更精確、高效地進行近視防控工作,提升防控效果。
#Velite C880眼健康多合一設備
Velite C880是一款創新設備,融合了可視化生物測量與(yu) 光學相幹斷層掃描(OCT)功能,除了能夠獲取基本的生物測量參數外,還能清晰呈現眼前節和後節斷層影像。

眼軸可視化:精準定位,精確測量提供16項測量參數
眼前節分析:清晰顯示角膜、房角結構,提供量化分析
視盤&黃斑分析:杯盤比、視網膜厚度、體(ti) 積等多維度量化分析
AI診斷分析&眼健康篩查:自動識別常見眼底病變、風險預測等
在AI的加持下,Velite C880極大地拓寬了應用場景,使醫生同時獲取眼部的形態學參數和內(nei) 部結構信息,從(cong) 而為(wei) 眼健康管理、疾病診斷及治療提供更加全麵的支持。
#市場概況
眼科光學生物測量儀(yi) 能夠精確測量角膜曲率、角膜厚度、瞳孔直徑,並計算人工晶體(ti) 度數,在白內(nei) 障手術和近視防控等領域應用廣泛,通過提供多維度眼部生物數據,為(wei) 醫生提供了可重複、及時且準確的診斷依據。
據YH Research的調研數據顯示,全球眼科光學生物測量儀(yi) 市場在2023年已達到約14.2億(yi) 元,並預計在未來幾年內(nei) 將保持平穩增長態勢,到2030年市場規模有望接近22.7億(yi) 元。
光學生物測量儀(yi) 在市場上存在多種類型,按使用場景和功能可劃分為(wei) 兩(liang) 類。一類是醫院使用的專(zhuan) 業(ye) 級產(chan) 品,如蔡司IOL-MASTER係列產(chan) 品,另一類則是為(wei) 滿足近視防控需求而在視光門店使用的產(chan) 品,主要由莫廷、索維、新視野等國產(chan) 品牌組成。從(cong) 銷售金額來看,蔡司IOL-MASTER係列在市場上占據絕對優(you) 勢,銷售金額占比高達57.5%。

▲蔡司光學生物測量儀(yi) MASTER 500(源於(yu) 公司官網)
據國家藥監局官網數據,目前國內(nei) 共有31款眼科光學生物測量儀(yi) 獲批上市,其中進口產(chan) 品有5款,分別來自蔡司(2款,IOL-MASTER 500/700)、歐科路(1款)、海克-斯特萊特(1款)、威視亞(ya) (1款)。國產(chan) 眼科光學生物測量儀(yi) 共有26款獲批,所屬廠商包括唯仁醫療(4款)、天津索維電子(4款)、圖湃醫療(2款)、莫廷醫療(2款)、比格威醫療(1款)、寧波法裏奧光學(1款)等。

▲已獲批進口眼科光學生物測量儀(yi)

▲已獲批國產(chan) 眼科光學生物測量儀(yi) (部分)
根據弗若斯特沙利文數據分析,第一類生物測量儀(yi) 產(chan) 品年銷量約800台,其中公開招標可查詢台數為(wei) 392台。第一類生物測量儀(yi) 產(chan) 品年市場銷售規模約6億(yi) 元人民幣(按中標價(jia) 口徑)。
根據中國公立醫院公開可查詢的中標數據顯示,蔡司IOL-MASTER係列各型號總銷售金額占比最高,達到57.5%,處於(yu) 優(you) 勢市場地位;歐科路排名第二,銷售金額市占率為(wei) 13.4%;索維排名第三,銷售金額市占率為(wei) 7.5%;尼德克、莫廷分列第四、第五,銷售金額市占率分別為(wei) 7.0%、5.3%;其它品牌中還有新視野、萬(wan) 靈幫橋等國產(chan) 產(chan) 品。

以平均中標價(jia) 格計算,歐科路產(chan) 品價(jia) 格最高,為(wei) 132.6萬(wan) 元,但其產(chan) 品功能較為(wei) 複雜,通常不歸類為(wei) 典型的生物測量儀(yi) 產(chan) 品;蔡司價(jia) 格位列第二,為(wei) 82.1萬(wan) 元;尼德克價(jia) 格位列第三,為(wei) 42.8萬(wan) 元;Hagg-Streit價(jia) 格位列第四,為(wei) 40.8萬(wan) 元;國產(chan) 品牌莫廷、索維位列第五、第六位,平均中標價(jia) 分別為(wei) 33.9萬(wan) 元、24.9萬(wan) 元。

由於(yu) 生物測量儀(yi) 產(chan) 品在近視防控領域的具體(ti) 銷售數據無法查證,因此無法給出相對精確的銷售金額增長趨勢預測。但對於(yu) 眼科生物測量儀(yi) 產(chan) 品,公立醫院高端市場依然處於(yu) 進口壟斷狀態,國產(chan) 替代機遇較大。
生物測量儀(yi) 產(chan) 品采用OCT技術,其性能表現也與(yu) OCT對應的性能參數及軟件算法的成熟度直接相關(guan) 。其中,蔡司Master-500型號、索維、Hagg-Streit、尼德克均采用早期的時域OCT(TD-OCT)技術;莫廷采用第三代頻域OCT(SD-OCT)技術;蔡司Master-700則采用第四代掃頻OCT(SS-OCT)技術,是首個(ge) 基於(yu) 掃頻OCT原理的生物測量儀(yi) 產(chan) 品,由於(yu) 其成本較高,因此銷售價(jia) 格昂貴。
圖湃“子午”係列,是首個(ge) 取得注冊(ce) 證的國產(chan) 掃頻生物測量儀(yi) 產(chan) 品,已在各大醫院陸續裝機。其性能參數對標Master-700,且首次實現了完整的動態全眼軸成像,有望衝(chong) 擊中高端市場。
盡管生物測量儀(yi) 主要市場份額仍被蔡司Master係列占據,但國產(chan) 品牌如圖湃、索維、莫廷、萬(wan) 靈幫橋、新視野等也已逐漸打開局麵,占據超過15%的市場份額。相信未來三年,無論在院端市場還是視光市場,國產(chan) 生物測量儀(yi) 產(chan) 品將逐漸占據主流,並推動該領域的持續增長。
#關(guan) 於(yu) 唯仁醫療

唯仁醫療成立於(yu) 2017年,專(zhuan) 注於(yu) 高端眼科光學醫療設備的研發與(yu) 生產(chan) ,致力於(yu) 建立完善的眼科影像產(chan) 品布局。旗下產(chan) 品線覆蓋眼底檢查、眼前節檢查多種光學設備,核心產(chan) 品是眼科光學相幹斷層掃描儀(yi) (OCT)。
公司同步發展眼科AI技術,研發基於(yu) 人工智能技術的OCT/OCTA高質量成像係統與(yu) 智能診斷雲(yun) 平台,以AI技術賦能設備、賦能醫生,建立眼病異常篩查及病種診斷的智能係統。通過AI加持,推進眼科影像設備在醫療、體(ti) 檢、視光等多場景的應用,服務眼健康全流程。
來源:眼未來

